丝素蛋白是一种从蚕丝中提取的天然蛋白质,与人表皮蛋白的同源蛋白,富含18种氨基酸,能被人体直接吸收利用,降解产生的氨基酸和多肽可以被细胞吸收利用。二级结构中其β-折叠结晶域含量可达50%以上,赋予材料高达500MPa的抗拉强度,可通过调控分子链排列方式,制备出多孔支架等不同形态的产品,以满足各类临床需求。
行业风向

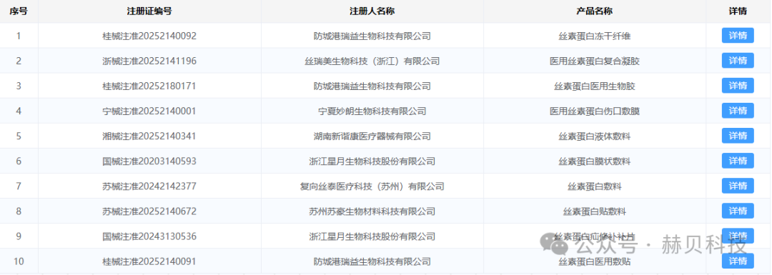
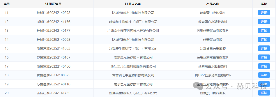
这种从蚕丝中提取的天然蛋白质,不仅具备优异的生物相容性和可降解性,更拥有合成材料的力学强度。作为深耕医疗器械CRO服务的专业机构,我们见证了这一材料在创面敷料、创伤修复、运动医学和骨科等领域的突破性应用。下列图片内容为该种蛋白在多种产品器械中已审批通过的情况。



赫贝经验

创面敷料和凝胶
适应症:多种非慢性创面及周围皮肤的的覆盖和护理。
优势:与传统的玻尿酸相比,丝素凝胶不仅能提供物理支撑,更能通过上调TGF-β3表达促进自体胶原再生。

动物选择:大白猪(皮肤厚度接近人类)
实验模型:深Ⅱ度猪皮肤缺损模型
受试产品:受试敷料/凝胶
对照品:已上市产品
检测指标方法:每个时间点监测动物创面愈合率,测试产品对皮肤的愈合情况。实验终点取材进行组织学染色,评估产品的胶原生成情况。
疝修补补片
适应症:开放性腹腔外修补腹股沟疝。
优势:丝素蛋白补片具有各向异性力学。

动物选择:巴马猪(伏腹壁解剖结构与人相似)
实验模型:疝模型
受试产品:受试疝补片
对照品:已上市产品
检测指标方法:每个时间点进行新生腹膜评价,评价新生腹膜的情况。生物力学检测,评价补片组织学反应与生物力学性能。B超检查,检测疝恢复情况。实验终点取材,评估组织粘连情况。
肩袖
适应症:修复肩袖损伤。
优势:提高愈合重建后的最大载荷值、刚度和位移生物力学指标,加快了腱-骨界面的愈合以及重建。

动物选择:比格犬(肌腱形态与人相似)
实验模型:肩袖损伤
受试产品:受试肩袖
对照品:已上市产品
检测指标方法:每个时间点进行实验动物运动功能评分,评价动物的恢复情况。实验终点取材,评估组织恢复情况。
骨科填充物
适应症:软骨修复。
优势:具有较高的拉伸强度,同时又具有一定的延展性。且材料有一定的孔隙,也为骨细胞的生长及分化提供足够的空间。

动物选择:新西兰兔(与人体的骨骼哈弗系统相似)
实验模型:桡骨缺损
受试产品:受试品
对照品:已上市产品
检测指标方法:大体观察,观察实验兔进食活动情况。骨部位进行CT检测,判断产品的植入情况。
我们将持续关注丝素蛋白的技术创新与临床转化,助力更多基于丝素蛋白的创新医疗器械走向市场,为患者带来更安全、有效的治疗方案。以上内容从多维度展现了丝素蛋白的应用价值。
赫贝科技,为您护航

杭州赫贝科技有限公司(Hibio)是一家专业从事临床前动物实验外包服务的(CRO)高新技术企业,致力于为国内外医疗器械和生物医药制造及研发企业、科研院所、医院等提供临床前动物实验研究、检验检测服务。公司严格参照GLP实验室标准执行,设有动物实验中心、分子生物学检测中心、病理学中心、影像学平台等四大技术服务平台。

拥有6000多平方的专业生物实验室及SPF实验动物中心,支持研发和申报阶段的可行性、安全性、有效性研究。已推动多项医疗器械产品通过NMPA审批进入临床阶段和成功上市,是浙江省内规模靠前,技术领先的第三方生物医药研究及技术服务公司。
关注我们


杭州赫贝科技有限公司咨询电话:0571-28313118
地址:杭州市余杭区余杭街道智溢路136号2幢3-4层
杭州市临安区锦南街道九州街88号天目医药港C座1-2层